- Information
-
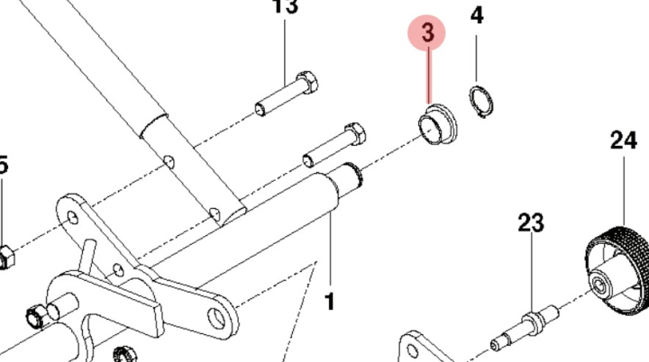
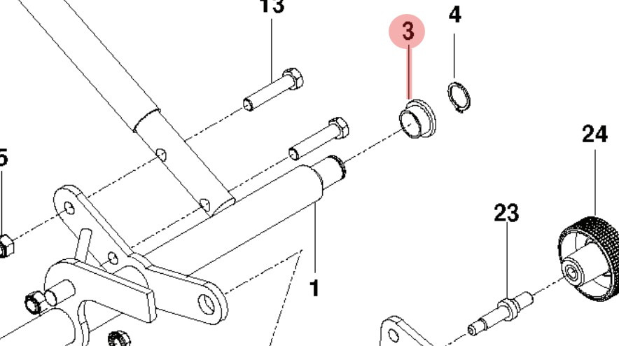
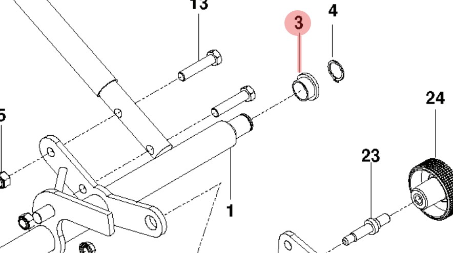
Husqvarna spare part with article number 539112895
Would you like to browse Husqvarna parts diagrams and spare parts? Then use our spare parts catalog. Click here to access the catalog.. - Specifications
-
Manufacturer's part number: 539 11 28-95 , 539112895 - Files
Price history
Price history
Our lowest price 30 days:

Uk - GBP
Sweden - SEK

