- Information
-
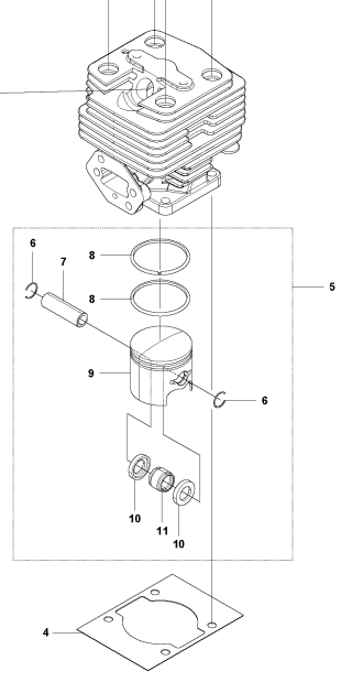
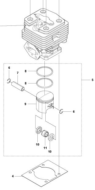
Husqvarna spare part with article number 593304901
Would you like to browse Husqvarna parts diagrams and spare parts? Then use our spare parts catalog. Click here to access the catalog.. - Specifications
-
Manufacturer's part number: 593 30 49-01 , 593304901 - Files
Price history
Price history
Our lowest price 30 days: €172.57

Sweden - SEK
Uk - GBP